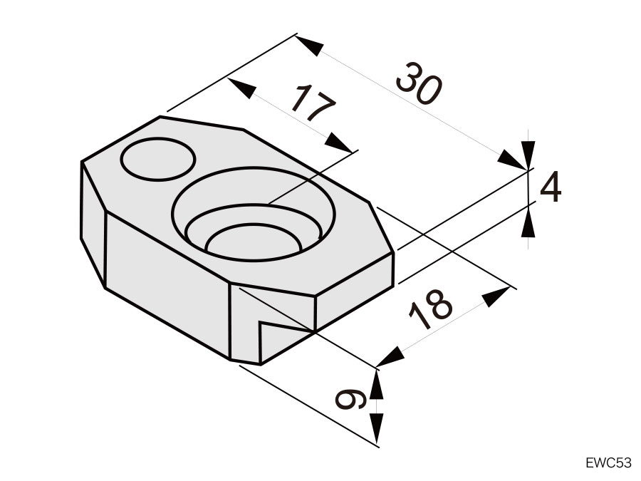
EWCワイヤーカットバイス 付属パーツ

品番: EWC53

都度見積

取り寄せ商品です

仕様

EWCデータムシステムシリーズの付属部品になります。

×

購入先を選択してください